
Pour plus d'informations au sujet de la batterie du véhicule, se reporter à batterie à la page 10-24.
Si la batterie du véhicule est à plat, il est possible de démarrer le véhicule en reliant la batterie à celle d'un autre véhicule avec des câbles volants. Les indications qui suivent vous permettront d'effectuer cette manoeuvre en toute sécurité.
Avertissement
Les batteries peuvent vous blesser. Elles peuvent être dangereuses parce que :
Maintenir toute source d'étincelles et de flammes à l'écart de la batterie.
Si vous ne respectez pas exactement ces étapes, certains ou tous ces éléments peuvent vous blesser.
Attention
L'ignorance de ces étapes peut causer des dégâts coûteux au véhicule qui ne seraient pas couverts par la garantie sur le véhicule. Le démarrage du Véhicule en poussant ou en tirant ne fonctionne pas et risque d'endommager le véhicule.

Attention
Si l'autre véhicule ne possède pas de circuit 12 v avec masse négative, les deux véhicules risquent des dégâts. Utiliser uniquement un véhicule qui possède un circuit 12 v avec masse négative pour démarrage au moyen d'une batterie d'appoint.
Serrer fermement le frein de stationnement des deux véhicules pour éviter qu'ils ne roulent. Placer la boîte de vitesses automatique en position point mort (p), ou la boîte manuelle au point mort (n) avant de serrer le frein de stationnement.
Attention
Si des accessoires sont laissés sous tension ou branchés pendant la procédure de démarrage par câbles, ils pourraient être endommagés. Les réparations ne seraient pas couvertes par la garantie du véhicule. Si possible, éteindre ou débrancher tous les accessoires dans les deux véhicules lors du démarrage avec batterie d'appoint.
Cela permettra d'éviter des étincelles et des dommages aux deux batteries, ainsi que des dommages à la radio!
Avertissement
L'utilisation d'une allumette près d'une batterie peut provoquer une explosion des gaz de batterie.
Des personnes ont été blessées par ces explosions et quelques-unes sont même devenues aveugles. Utiliser une lampe de poche si vous avez besoin de plus d'éclairage.
Le liquide de batterie contient de l'acide qui peut vous brûler. Il faut éviter de le toucher. Si par mégarde vous en éclaboussez dans les yeux ou sur la peau, rincer à l'eau et faire immédiatement appel à un médecin.
Avertissement
Les ventilateurs et autres pièces mobiles du moteur peuvent provoquer de graves blessures.
Garder les mains à l'écart des pièces mobiles lorsque le moteur tourne.
Les véhicules pourraient également être endommagés.
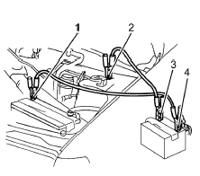
Avant de brancher les câbles, voici quelques éléments de base à connaître. Le positif (+) se raccorde au positif (+) ou à une borne positive éloignée (+) selon l'équipement. Le négatif (-) est relié à une pièce métallique non peinte, lourde, du moteur ou sur une borne négative (-) éloignée, selon l'équipement.
Ne pas relier la borne positive (+) à la borne négative (-) sous peine de causer un court-circuit qui pourrait endommager la batterie et d'autres pièces. Ne pas brancher le câble négatif (-) à la borne négative (-) de la batterie déchargée sous peine de provoquer des étincelles.
Utiliser une borne positive (+) auxiliaire, selon l'équipement.
Ne pas laisser l'autre extrémité toucher le métal. La relier à la borne positive (+) (4) de la batterie chargée. Utiliser une borne positive (+) auxiliaire, selon l'équipement.
Empêcher l'autre extrémité du câble d'entrer en contact avec un autre élément avant l'étape suivante. L'autre extrémité du câble négatif (-) ne doit pas être reliée à la batterie déchargée.
Elle doit être reliée à une tour d'amortisseur ou à une borne négative (-) auxiliaire du véhicule dont la batterie est déchargée.
Attention
Veiller à ce que les câbles volants ne touchent pas de pièces mobiles du compartiment moteur et que les attaches de câble ne touchent pas d'autres métaux.
Attention
Ne pas laisser le moteur auxiliaire engagé plus de 10 secondes.
Si le moteur ne démarre pas immédiatement, couper le contact et attendre trois à quatre secondes avant de réessayer.
Attention
Si les câbles volants ne sont pas raccordés ou déposés dans le bon ordre, un court-circuit électrique peut survenir et endommager le véhicule. Les Réparations ne seraient pas couvertes par la garantie du véhicule. Toujours raccorder et déposer les câbles volants dans l'ordre correct, en s'assurant que les câbles ne se touchent pas et qu'ils ne sont pas en contact avec une autre pièce métallique.
Retrait des câbles volants
Inverser la séquence pour déposer les câbles de démarrage d'appoint.
Démarrage par poussée
Attention
Toute tentative pourrait endommager la transmission.