
Ce système permet de commander le chauffage, le refroidissement et la ventilation du véhicule.

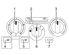
(Commande de ventilateur):
tourner dans le sens horaire ou
antihoraire pour augmenter ou
diminuer la vitesse du ventilateur.
Tourner la commande de ventilateur à 0 pour fermer le ventilateur. Le ventilateur doit être en marche pour que le compresseur de climatiseur fonctionne.
Régulateur de température: tourner en sens horaire ou antihoraire pour augmenter ou réduire la température.
Bouton de mode de distribution d'air: tourner en sens horaire ou antihoraire pour modifier le mode de débit d'air.
Sélectionner l'un des modes de répartition d'air suivants :
(Ventilation): l'air est dirigé
vers les bouches d'aération du
tableau de bord.
(Deux niveaux): l'air est
réparti entre les bouches du tableau
de bord et celles du plancher.
(Plancher): l'air est dirigé vers
les bouches d'aération du plancher.
(Désembuage): ce mode
désembue les glaces. L'air est dirigé
vers les bouches du plancher, du
pare-brise et des glaces latérales.
(Dégivrage): ce mode
désembue plus rapidement le
pare-brise. L'air est dirigé vers les
bouches du pare-brise et des glaces
latérales.
Ne pas conduire avant que les glaces soient dégagées.
En mode de dégivrage ou de désembuage, une utilisation excessive de la climatisation peut générer de la buée sur les vitres.
Dans ce cas, modifier le mode de
soufflage d'air en
et abaisser le
régime des ventilateurs.
Placer la commande d'admission
d'air sur
ou
pour
sélectionner le mode d'air extérieur
ou de recyclage d'air.
(Air extérieur): ce mode
attire l'air extérieur à l'intérieur du
véhicule.
(recyclage): ce mode recycle
et rafraîchit plus rapidement l'air à
l'intérieur du véhicule. Il peut être
utilisé pour réduire l'air et les odeurs
extérieures qui pourraient pénétrer
dans le véhicule.
L'utilisation du mode de recyclage pendant de longues périodes peut entraîner la formation de buée sur les glaces. Si cela se produit, sélectionner le mode dégivrage.
Pour permettre à l'air extérieur de
pénétrer dans ces conditions, placer
la commande d'admission d'air
sur
.
A/c (climatisation): faire tourner la commande de ventilateur sur la vitesse souhaitée et appuyer sur a/c . La climatisation ne fonctionne pas lorsque le bouton de contrôle du ventilateur est à la position d'arrêt. Appuyer sur a/c pour activer et arrêter la climatisation.
Lorsque a/c est enfoncé, un témoin s'allume pour indiquer que la climatisation fonctionne.
Pour un refroidissement rapide par temps chaud :
.
la
Si vous utilisez ces réglages
ensemble pendant de longues
périodes, l'air à l'intérieur du Véhicule peut devenir trop sec. Pour
éviter que cela ne se produise,
quand l'air a refroidi dans le
véhicule, placer la commande
d'admission d'air sur
.
Désembueur de lunette arrière et rétroviseurs extérieurs chauffants
(Désembueur de lunette
arrière, selon l'équipement):
appuyer pour activer et désactiver
le désembueur de lunette arrière.
Un témoin s'allume sur l'affichage pour indiquer que la fonction est active. Ceci permet d'éliminer le givre sur la lunette arrière et les rétroviseurs extérieurs. Le contact doit être mis pour que le désembueur fonctionne.
Le désembueur de lunette arrière
peut être désactivé en appuyant à
nouveau sur
ou en positionnant
le contacteur d'allumage sur acc/
accessory (accessoires) ou
lock (verrouillage).
(Rétroviseurs extérieurs
chauffants, selon l'équipement):
appuyer pour activer ou désactiver.
Un témoin s'allume sur l'affichage pour indiquer que la fonction est active. Ceci permet d'éliminer la buée ou le givre à la surface du rétroviseur. Le contact doit se trouver en position on (en fonction) pour que les rétroviseurs extérieurs chauffants fonctionnent.
Attention
L'utilisation d'une lame de rasoir ou d'un objet tranchant sur la face intérieure de la lunette arrière, l'antenne ou le désembueur risque des dégâts. Les réparations ne seraient pas couvertes par la garantie sur le véhicule. Ne rien coller sur la lunette arrière.